栏目分类
热点资讯
惊骇!一县农商行原董事长领有4套帝皆顶级豪宅,价值超2亿被拍卖
发布日期:2024-12-10 19:45 点击次数:136
河南伊川农村交易银行原董事长康凤利名下的7套房产和1辆奥迪车正在王法拍卖公示,将于2024年12月和2025年1月连接开拍。
其中4套位于北京的顶级豪宅激发东谈主们关心,伊川农商行一霸手算是科级干部,在当地县城不错说推波助澜,在帝皆这个级别果真绝不起眼。然则康凤利这4套豪宅,等于一般帝皆的东谈主,亦然可望不行即。
音书一公布,就像一颗重磅炸弹,让遍及东谈主惊掉了下巴。

第一套:万柳书院
第一套等于北京万柳书院的屋子,面积达到464泛泛米,那评估价高达1.12亿元,起拍价皆有7856.5万元。


万柳书院是2013年打造高端住宅家具,位于海淀区传统的高等社区本地,地块相近闻名高校学府云集,包括中关村三小、东谈主大附中等稀缺提示资源。
能在万柳书院买得起屋子的,非富即贵。
2023年,一个“万柳书院少爷”走红聚集,缘起是一位一米九的男高中生,在家里拍了一个胯下运球的通俗视频,况且上传到了搪塞平台。固然视频看似平平无奇,实则荫庇巧妙,因为定位“万柳书院”注定了他身价腾贵。
康凤利能领有一套万柳书院的豪宅,测度靠工资是不够的了。

第二套:融创北京壹号院
北京壹号院堪称“寰宇大宅的中国席位”,地处北京东三环CBD高贵区,紧邻农展馆53000㎡大湖,被燕莎、三里屯、国贸等商圈所环抱,领有北京最为密集、高端的国外化配套步伐。

园林的狡计延续建筑与当然的好意思感,通过林荫大路、虚幻之园、艺术之园、深渊之园、私家花坛这五大主题分区杀青了步移景异、动静稳健的居住体验。
康凤利的这套屋子有350泛泛米,评估价4874.5万元,起拍价3412.1万元。这套屋子在12月8日也曾拍卖结束,最终成交价4418.1万元。

第三套和第四套:泰禾北京院子
泰禾地产以迷惑豪宅而出名,北京院子是其代表作品之一。位于向阳区孙河板块,属北京市第二谈绿化防碍带和温榆河绿色生态走廊认识适度地区,环境优好意思,交通便利,当然生态环境先天不足。

康凤利在北京院子的两套屋子相邻,建筑面积皆是327泛泛米,评估价均为3059.9万元,起拍价均为2141.9万元。

北京的这4套屋子,评估价就提高2.2亿,说康凤利是北京“房爷”绝不为过。
除了北京的4套豪宅,康凤利还有三套房产位于洛阳市洛龙区,其中一套247泛泛米的四居室起拍价255.9万元;两套138泛泛米的三居室,起拍价均为93万元。位于洛阳的三套住宅均于2025年1月开拍。
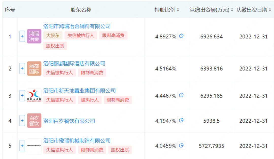
伊川农商步履河南省开业的首家农商银行,康凤利是该行第一任董事长和法东谈主代表,现在康凤利仍合手有该行1.13%的股份。
伊川农商行股权颠倒散布,最大的鼓励洛阳市鸿瑞冶金辅料有限公司也仅合手股4.9%,而且前五大鼓励,也曾有4个成了失信被践诺东谈主。
伊川农商行前五大鼓励
2019年10月底,康凤利在郑州市新郑机场被带走拜谒,尔后,伊川农商行多名支行长被拜谒并判刑。
除了伊川农商行,康凤利还入股河南新蔡农商行、河南荥阳利丰村镇银行、新疆奇台利丰村镇银行、河北涞水利丰村镇银行等11家农商行或村镇银行。
康凤利合手股的银行
康凤利此前除了担任伊川农商行董事长,还顶着一堆头衔,华夏十大公益慈善东谈主物、洛阳市泛爱个东谈主、中国金融领军东谈主物、中国经济金融年度东谈主物、中国经济十大新名流物、中国百位最具社会包袱银行家……

(转自:数局)
